LZ10001手動火災報警按鈕防雨罩
LZ10001手動火災報警按鈕防雨罩產品介紹
LZ10001手動火災報警按鈕防雨罩是不銹鋼材質。這款防雨罩需要與LZ1000手動報警按鈕立柱配套使用,適用于在室外安裝安裝本安型手動報警按鈕,防護等級IP65。可配套產品:J-SAB-G1(Ex)、J-SAF-GST9211(Ex)手動火災報警按鈕。
LZ10001型防雨罩與LZ1000型立柱配套使用。LZ10001型防雨罩防護等級IP65,其外形示意圖如圖1-13所示。

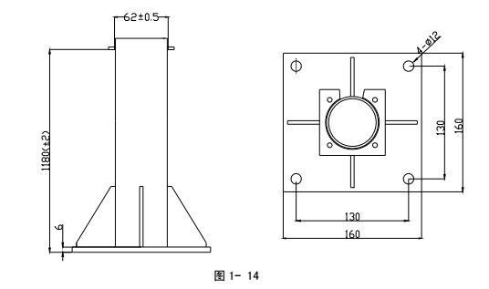
LZ1000型立柱的外形示意圖如圖1-14所示。

LZ10001型防雨罩與LZ1000型立柱配套安裝示意圖如圖1-15所示。

布線要求:電纜均選用截面積≥1.0mm2的本安電纜,且電纜間分布電容不得大于0.083μF,分布電感不得大于4.0mH。
智淼君安(江蘇)消防工程技術有限公司http://www.baofubancai.com/海灣消防公司主營:海灣消防報警系統銷售,消防設備安裝,海灣氣體滅火、海灣電氣火災、消防水噴淋系統施工安裝,售后維修,海灣消防網站:http://www.baofubancai.com/;海灣消防服務熱線:4006-598-119
本頁關鍵詞:LZ10001手動火災報警按鈕防雨罩
上一篇:LZ1001手動火災報警按鈕立柱 下一篇:LZ10011手動火災報警按鈕防雨罩
產品中心

蘇公網安備32058102002147號